Вакуумні пристрої для відкачування газоподібних речовин
Якісний вакуумний насос для відкачування повітря призначений для герметичних резервуарів, в яких підтримується тиск із рівнем нижче атмосферного. Принцип дії пристрою полягає в стисканні повітря з подальшим виштовхуванням його назовні.
Класифікація моделей
Обладнання для відкачування газоподібних речовин із закритих резервуарів відрізняється низкою характеристик. Це дозволяє розділити пристрої на категорії:
За типом створюваного вакууму:
- висококоваумні;
- форвакуумні;
- низковакуумні.
За способом викачування повітря:
- молекулярні (видалення молекул відбувається за рахунок надання їм додаткової швидкості струменем води, парою або роторними лопатями);
- об’ємні (покликані відкачувати речовину порціями).
За принципом функціонування:
- поршневі;
- роторні;
- мембранні;
- турбомолекулярні;
- ежекторні;
- водокільцеві.
Від обраного типу залежать ціни на вакуумні насоси.
Принцип роботи різних конструкцій
Поршневі моделі здатні змінювати об’єм у камері за рахунок динамічності поршня. Прогін газово-рідинної суміші підвищує граничний тиск, завдяки створенню об’ємного «мертвого» простору всередині циліндрів.
Другий вид помп, званий роторно-пластинчастим, передбачає рух газів за рахунок робочих пластин, притиснутих до стінок і поступово, що рухається. Обертання ротора призводить до зміни положення утворених секторів з об’ємом, що постійно змінюється. Вони приєднуються то до нагнітального, то до патрубків, що всмоктує, чим провокують видалення маси.
Якщо необхідний великий рівень тиску і граничний ступінь стійкості до пари, рекомендуємо купити вакуумний насос, вибравши з двоступінчастих моделей. Вони також гарантують більш економну витрату енергії та кращу потужність.
Вибір мембранних помп дозволяє не використовувати олію. Робота пристрою забезпечується головними функціональними елементами – мембраною, яка змінює свій розмір у процесі, та поршневим насосом. Певний вакуумний насос можна використовувати навіть у агресивному середовищі.
Турбомолекулярні здатні зробити перекачування частинок швидше за рахунок створення та підтримки високого вакууму. Швидкість ротора за хвилину сягає десятків тисяч.
Принцип дії ежекторних моделей (водоструйних ежекторів) полягає у зворотній передачі частини енергії від газоподібної речовини або струменя води до маси, що відкачується, з метою підвищення її тиску.
Також сьогодні можна придбати вакуумний насос в Україні водокільцевого типу. Його конструкція передбачає наявність ротора з лопатками, радіально прикріпленими. Елементи обертаються у замкнутому корпусі, частково заповненому робочою рідиною.
Етапи перекачування водокільцевим пристроєм:
- Переміщення води до периферії за допомогою відцентрової сили.
- Створення водяного кільця.
- Створення секторів з постійно змінним обсягом у просторі.
- Збільшення/зменшення секторів та всмоктування газу з його подальшим стисненням/нагнітанням.
Останні можна встановити для відкачування у складних умовах: при забрудненій газоподібній масі та підвищених температурах.
Огляд типів вакуумних насосів
Вакуумні насоси ВВН є широким асортиментом насосного обладнання, призначеного для прокачування неагресивних середовищ. Серед них можна відзначити водокільцеві вакуумні насоси, вакуумні водяні насоси, пластинчасто-роторні та інші. Вони відрізняються високою ефективністю відкачування.
| Модель насоса | Продуктивність | Залишковий тиск, Па | Двигун, кВт/про | |
| м³/година | л/с | |||
| ВВН1-0,75 | 45 | 12,5 | 0,2 | 2,2/1500 |
| ВВН1-1,5 | 90 | 25 | 0,41 | 5,5/1500 |
| ВВН1-3 | 198 | 55 | 0,41 | 7,5/1500 |
| ВВН1-6 | 372 | 103,3 | 0,41 | 15/1500 |
| ВВН1-12 | 720 | 200 | 0,41 | 30/1000 |
| ВВН1-25 | 1500 | 416,6 | 0,41 | 55/750 |
| ВВН2-50 | 3000 | 833,3 | 0,41 | 110/600 |
Переваги та недоліки АВЗ
Принцип роботи вакуумних насосів АВЗ полягає у відкачуванні неагресивних середовищ у різних галузях промисловості, включаючи фармацевтику. Водокільцеві вакуумні насоси цієї серії є герметичними та забезпечують високий рівень вакууму та ефективну роботу. Вони оснащені робочим колесом типу пластинчасто-роторні та дисковим поворотним клапаном батерфляй, що забезпечує герметичність у процесі відкачування.
Переваги вакуумних насосів АВЗ включають швидкодію, безмасляну сушку, високу гарантію і здатність відкачувати забруднені і запилені робочі камери. Ці насоси мають зазор між робочим колесом і корпусом, що забезпечує відкачується ємність водяного кільця, що відкачується. Тим не менш, недоліками є обмежені характеристики вакуумних насосів та їхнє призначення для прокачування неагресивних середовищ.
| Вакуумний насос | Продуктивність | Залишковий тиск, Па | Двигун, кВт/про | |
| м³/година | л/с | |||
| АВЗ-20Д | 72 | 20 | 1,1 | 2,2/1500 |
| АВЗ-63Д | 227 | 63 | 6,7 | 7,5/1500 |
| АВЗ-90 | 324 | 90 | 6,7 | 11/1500 |
| АВЗ-125Д | 450 | 125 | 6,7 | 15/1500 |
| АВЗ-180 | 648 | 180 | 6,7 | 15/1500 |
Переваги та недоліки НВР
НВР працює наступним чином: повітря (або інше газоподібне середовище) подається у вакуумну камеру, де він збирається та змішується з водою або іншою рідиною. Після цього рідина та газоподібне середовище змішуються в насосі. Це кільце створює тиск і розподіл по всій вакуумній камері, що дозволяє відкачувати повітря чи інше середовище.
Переваги використання НВР включають, зокрема, високу продуктивність, низький рівень шуму, тривалий термін служби, надійність і простоту обслуговування. Цей вид вакуумних насосів також не вимагає використання олії, що робить їх екологічно безпечнішими. Однак у НВР є недоліки. Вони можуть бути дорожчими в експлуатації через високу вартість компонентів та необхідність спеціалізованого обслуговування. Також вони вимагають високого ступеня точності у проектуванні та експлуатації, щоб уникнути можливих поломок. Деякі моделі НВР можуть бути шумнішими, ніж інші типи вакуумних насосів, що також є недоліком.
Таким чином, НВР є ефективним та надійним обладнанням для відкачування та створення вакууму, яке широко застосовується у різних галузях промисловості, таких як фармацевтика, харчова промисловість, автомобільне виробництво та інші.
| Вакуумний насос | Продуктивність | Залишковий тиск, Па | Двигун, кВт/про | |
| м³/година | л/с | |||
| НВР-1,2 | 4,5 | 1,25 | 1,1 | 0,25/3000 |
| 2НВР-5ДМ | 19,6 | 5,5 | 6,7 | 0,55/1500 |
| НВР-16ДМ (НВР-16 | 60 | 16,6 | 6,7 | 2,2/1500 |
Як вибрати насос з правильними характеристиками для конкретних завдань
При виборі вакуумного насоса для промислового обладнання необхідно враховувати декілька ключових факторів. Один із них – тип використовуваного насоса. Наприклад, безмасляні вакуумні насоси підходять для газів, що містять агресивні частинки. Також важливо враховувати якість робочого середовища та вибирати насос із відповідним робочим колесом.
При покупці вакуумних насосів в Україні також варто звернути увагу на наявність клапанів та позиціонера, що дозволяє контролювати процес відкачування. Важливо підбирати насос із можливістю відкачувати різні типи газів та адаптувати його для роботи з різними видами агрегатів.
Рекомендації щодо догляду за насосами для продовження їх терміну служби
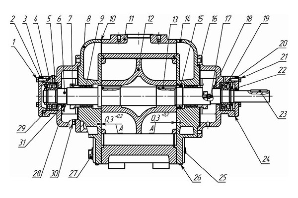
Влаштування вакуумного насоса

-
- кріплення
- кришка підшипника
- гайка
- 4 корпус підшипника
- підшипник
- вал
- кришка сальника
- лобовина права
- сальникове набивання
- прокладка
- чавунний корпус
- лопаточне робоче колесо
- шпонка
- лобова ліва
- корпус підшипника
- кріплення
- регулювальний болт
- підшипник
- кришка підшипника
- гайка
- шпонка
- кріплення
- регулювальний болт
- регулювальний болт
- кріплення
- гайка
Особливості застосування
Вакуумні насоси застосовуються на великих виробництвах та промислових організаціях. Основними перевагами є високі експлуатаційні властивості, і вони працюють цілодобово за умови правильної установки та обслуговування. Довговічність застосування вакуумних насосів забезпечується за рахунок використання виключно якісних матеріалів, виготовлених із міцної сталі, завдяки чому вони відрізняються високою енергоефективністю, компактністю та створюють низький рівень шуму.
Сьогодні вакуумні насоси вітчизняного виробництва мають не менший попит, ніж зарубіжного виготовлення. АТЛАНТ-ТМ пропонує продукцію, яка відрізняється великим сортиментом, не поступається за якістю конкурентам.
Продукція «АТЛАНТ-ТМ»
Пропонуємо купити високотехнологічні помпи в Україні за вигідною ціною в компанії «АТЛАНТ-ТМ». Завдяки прямій співпраці з відомими виробниками промислового обладнання гарантуємо європейську якість за низької вартості. Менеджери допоможуть з підбором оптимальної моделі для сертифікації відповідно до ваших вимог.
Переваги фірмового обладнання:
- доступні ціни від виробника;
- висока якість матеріалів та складання;
- відповідність світовим стандартам;
- довговічність;
- стійкість до зносу;
- можливість застосування у складних умовах.
Кожен товар супроводжується повним пакетом технічної документації. Додатково пропонуємо оригінальні запасні частини, здійснення ремонту, а також оперативну доставку з монтажем та налагодженням обладнання кваліфікованими майстрами. Ми – ваша рука допомоги у будь-якому питанні!
